中国白酒在传统生产工艺的基础上创新,目前行业研究的重点逐渐转向白酒生产机械化、自动化、智能化、数字化。
白酒酿造是以粮食为主要原料,经过固态发酵、蒸馏等工序获得白酒的工艺过程。根据生产工艺要求,在酿酒料上甑过程中,酿酒料表面有气体即将冒出时要及时用酿酒料定点覆盖,减少挥发,不能采用整体敷料的方法处理,且敷料不能夯实处理,堆料过程中要保持相对酥松,以便出酒。
传统酿酒生产采用人工布料,主要通过人工来观察,凭经验判断需要铺放酿酒料区域,容易产生误判,且酿酒料铺放量也不能准确把握,影响成酒的质量,同时对工人的技术要求很高,劳动强度也比较大。另外有些酿酒料具有一定的粘度,容易成团,会影响出酒的效率。

目前国内大大小小的白酒生产线上,绝大多数环节都已经实现自动化操作,唯独这一个环节,依然要靠老师傅凭经验操作,而且上甑车间内温度高达60多摄氏度,湿度、酸度也非常高,工作环境异常艰苦。由于人工操作受各种因素影响,所以出酒率并不稳定。
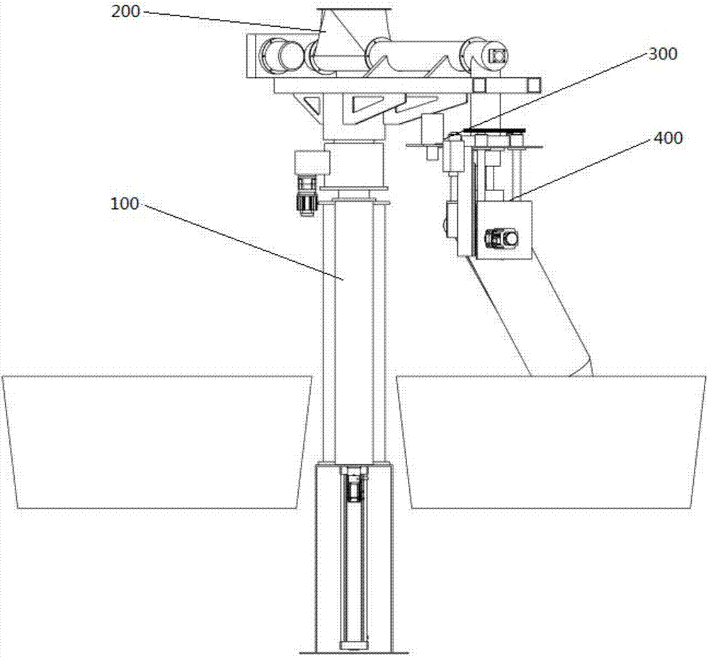
为了有效地提高装甄效率,减少原液损失,提升酿酒质量与产量,装甄机器人应运而生。其特征在于:包括立柱、接送料系统、酿酒料层温度场采集与分析系统以及多功能铺料头系统;

所述酿酒料层温度场采集与分析系统基于红外图像传感器检测酿酒料层表面的温度,分析其梯度分布情况和各温度梯度区域的中心坐标,将其传送给控制系统;所述多功能铺料头根据控制系统的指令,与所述立柱和接送料系统共同作用,将酿酒料由接料斗运送至指定的铺放点,完成酒料的及时有序的定区域铺放;所述接送料系统负责控制料仓出口的开关、螺旋输送速度等,及时将酿酒料以期望的流量输送,最终由多功能铺料头输出,并且没有缺料和堵料的现象,还能将料仓和送料系统的状态传送给计算机,便于系统做出智能决策。

红外热成像作为先进的机器视觉技术,可以对装甄桶内酒糟及酒精蒸汽的温度实时监控,输出红外温度图像,当高温的酒精蒸汽从底部冒出时,通过高帧率的热成像仪,第一时间感知出来并追踪到酒精蒸汽冒出点的高温位置,同时输出相应的坐标信息给到装甄机器人,使得机器人在第一时间移至该位置铺料,最大化地减少酒精挥发。

相比人工操作,机器人酿酒在保证酒的品质稳定性以及规模生产等方面具有一定优势,既可节省日益升高的人工成本,又可以根据传统工艺要求,精密严格把控酿酒过程中温度、水质、搅拌速度等技术要素,从而减少误差,取得稳定、高品质的出酒效果。
随着红外热成像技术的引入,酿酒机器人攻克了在上甑这一关键工艺环节自动化生产的难题。利用机器人高效、卫生、专业等优势,有效地控制成本、提高白酒品质以及减少原材料浪费,实现了智能酿造、健康酿造和有机酿造,推动了传统酿造产业的升级发展。






